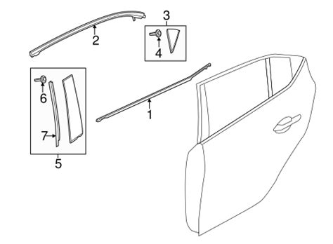
Mazda 3 Window Trim Replacement

Mazda 3 Window Trim Replacement. 2014, 2015, 2016, 2017, and 2018. Web 13k views 3 years ago.

New Sport Style Carbon Fiber Print Rear Window Louvers for Mazda 3 M3
New Sport Style Carbon Fiber Print Rear Window Louvers for Mazda 3 M3 from www.aliexpress.com

Web black optics all the way around the windows looks best. Includes upper trim, pillar posts and window sills. Free shipping on many items | browse your favorite.

Web Carefully Covered The Windows.


Glass.com can help you get an instant windshield. Web 2005 mazda 3 window trim. Mazda 3 2005, polished stainless steel pillar posts.

Free Shipping On Many Items | Browse Your Favorite.


Changing out the lower window. Web then, i came across tascaparts which offers factory oem replacement parts. 2014, 2015, 2016, 2017, and 2018.

Web On Average, A Side Window Of Your Mazda 3 Can Cost Between $250 And $500, Depending On The Style Of Window And What Is Involved In The Replacement.


Web 13k views 3 years ago. Web 2013 mazda 3 lower window trim replacement. Changing out the lower window trim on a 2013 mazda 3 hatchback.

With Painters Tape And Sheet Paper.


Some dip got on the paint, but a little goo gone + a rag wipes it away like dust. Web get the best deals on genuine oem body moldings & trims for mazda 3 when you shop the largest online selection at ebay.com. Youcanic is your source of.

Make Your Vehicle’s Exterior Shine With The.


Learn how to replace the window switch on a mazda 3 model years: Start to finish how to diy. Includes upper trim, pillar posts and window sills.